Customized 150KW water circulation heater
Product introduction
An water circulation heater is composed of an immersion heater covered by an anti-corrosion metallic vessel chamber. This casing is mainly used for insulation to prevent heat loss in the circulation system. Heat loss is not only inefficient in terms of energy usage but it would also cause unnecessary operation expenses. A pump unit is used to transport the inlet fluid into the circulation system. The fluid is then circulated and reheated in a closed loop circuit around the immersion heater continuously until the desired temperature is reached. The heating medium will then flow out of the outlet nozzle at a fixed flow rate determined by the temperature control mechanism. The pipeline heater is usually used in urban central heating, laboratory, chemical industy and textile industry.
Working Diagram
Pipeline heater's working principle is: cold air (or cold liquid) enters the pipeline from the inlet, the inner cylinder of the heater is in full contact with the electric heating element under the action of the deflector, and after reaching the specified temperature under the monitoring of the outlet temperature measurement system, it flows from the outlet to the specified piping system.
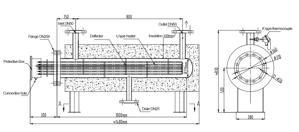
Product Structure
The water circulation heater is mainly composed of an U shaped electric immersion heating element, an inner cylinder, an insulation layer, an outer shell, a wiring cavity, and an electronic control system.
|
Technicial Specifications |
|||||
|
Model |
Power(KW) |
Pipeline Heater (liquid) |
Pipeline Heater (air) |
||
|
heating room size(mm) |
connection diameter (mm) |
heating room size(mm) |
connection diameter (mm) |
||
|
XR-GD-10 |
10 |
DN100*700 |
DN32 |
DN100*700 |
DN32 |
|
XR-GD-20 |
20 |
DN150*800 |
DN50 |
DN150*800 |
DN50 |
|
XR-GD-30 |
30 |
DN150*800 |
DN50 |
DN200*1000 |
DN80 |
|
XR-GD-50 |
50 |
DN150*800 |
DN50 |
DN200*1000 |
DN80 |
|
XR-GD-60 |
60 |
DN200*1000 |
DN80 |
DN250*1400 |
DN100 |
|
XR-GD-80 |
80 |
DN250*1400 |
DN100 |
DN250*1400 |
DN100 |
|
XR-GD-100 |
100 |
DN250*1400 |
DN100 |
DN250*1400 |
DN100 |
|
XR-GD-120 |
120 |
DN250*1400 |
DN100 |
DN300*1600 |
DN125 |
|
XR-GD-150 |
150 |
DN300*1600 |
DN125 |
DN300*1600 |
DN125 |
|
XR-GD-180 |
180 |
DN300*1600 |
DN125 |
DN350*1800 |
DN150 |
|
XR-GD-240 |
240 |
DN350*1800 |
DN150 |
DN350*1800 |
DN150 |
|
XR-GD-300 |
300 |
DN350*1800 |
DN150 |
DN400*2000 |
DN200 |
|
XR-GD-360 |
360 |
DN400*2000 |
DN200 |
2-DN350*1800 |
DN200 |
|
XR-GD-420 |
420 |
DN400*2000 |
DN200 |
2-DN350*1800 |
DN200 |
|
XR-GD-480 |
480 |
DN400*2000 |
DN200 |
2-DN350*1800 |
DN200 |
|
XR-GD-600 |
600 |
2-DN350*1800 |
DN200 |
2-DN400*2000 |
DN200 |
|
XR-GD-800 |
800 |
2-DN400*2000 |
DN200 |
4-DN350*1800 |
DN200 |
|
XR-GD-1000 |
1000 |
4-DN350*1800 |
DN200 |
4-DN400*2000 |
DN200 |
Advantage
* Flange-form heating core;
* The structure is advanced ,safe and guaranteed;
* Uniform, heating,thermal efficiency up to 95%
* Good mechanical strength;
* Easy to install and disassemble
* Energy saving power saving,low running cost
* Multi point temperature control can be customized
* The outlet temperature is controllable
Application
Pipeline heaters are widely used in automobiles, textiles, printing and dyeing, dyes, papermaking, bicycles, refrigerators, washing machines, chemical fiber, ceramics, electrostatic spraying, grain, food, pharmaceuticals, chemicals, tobacco and other industries to achieve the purpose of ultra-fast drying of the pipeline heater. Pipeline heaters are designed and engineered for versatility and are capable of meeting most applications and site requirements.
Buying Guide
The key questions before ordering a pipeline heater are:









